
©️新博弈
要说最近科技圈的网络红人,追觅科技创始人俞浩必有姓名,从密集的大手笔营销动作,到一次次语出惊人,“大梦想家”俞浩和他的追觅科技频频占据话题中心。
2月4日,追觅在苏州奥体中心举办了一场“新式年会”,邀请到李克勤、韩红、张信哲、毛不易等众多歌手,声势之大堪比一场顶级演唱会。
2月8日,漂亮国“超级碗”赛事期间,追觅的30秒广告短片,占据了独家转播平台NBC的黄金广告位。
2月16日,追觅以“智能科技生态战略合作伙伴”的身份,亮相2026年央视春晚。

据界面新闻统计,仅2026年前两个月,追觅各种营销花费预计不低于5亿元。尽管这一数据尚未得到证实,但可以肯定的是,最近一段时间里,追觅正在“疯狂”砸钱搞营销。而其重金营销的目的是借此改变市场认知,让更多人意识到,这家创立于2017年的科技新贵不只有扫地机,还有大家电、智能手机、汽车、无人机等众多业务线。
开启“万物皆可造”模式的追觅,正急切地想要闯入一个更大的舞台。
“万物皆可造”
追觅要讲更大的故事
过去一年,追觅对营销的需求变得愈发迫切。
一边是在公司发展层面,追觅高调地铺开多条业务线,并在多个板块喊出对标超级头部的目标,如“追觅宣布造车,首款车型对标布加迪威龙”、“追觅进军天文,布局商业航空”、“追觅将进军智能手机,与华为、小米三分天下”等类似的消息不绝于耳。
另一边,俞浩在个人社媒平台及公开场合的发言也日渐激进。无论是其在微博声称:“我们把净利润的18%作为奖金发给了大家,总奖金规模达到10亿量级。”还是喊出未来三年达成万亿营收的“小目标”,俞浩的这些言论都极具穿透力,并迅速引发大面积讨论。

如今回过头再看,这些动作其实都有一个共同的指向,即追觅要讲一个更大的故事。
在过去,不少人对追觅的认知都是一家以扫地机、洗地机等清洁产品为主的企业。当然直到目前,扫地机等清洁产品仍然是追觅的主营业务,但这并不是追觅想要的。因为从一开始追觅想做的,就不是一家以单一品类为主的企业,而是以产品为载体推进技术研发和工业生产链完善,进而形成其核心优势——“技术复利”,并由此构建产品线的生态型企业。
简单来说,也就是追觅在清洁产品研发中积累的三大核心技术:高速数字马达、智能算法、仿生机械臂,也可不断应用在多种产品研发中。说的更直白一些,对追觅而言,做扫地机和做人形机器人,其实是同一件事,扫地机只是追觅更快跑成功的BU之一。
用俞浩自己的话说:“所有的智能设备,本质上都是服务型机器人。如果你掌握了高速数字马达和智能算法,你就掌握了所有机器人的心脏和大脑。”这也是追觅想要借助这一波高调营销,真正传递的信息。
因此,尽管在其主营赛道,追觅的市场份额并没有特别明显的优势。IDC数据显示,2025年一季度至三季度,追觅全球智能扫地机器人的市场份额为12.4%,排在石头科技(21.7%)和科沃斯(14.1%)之后,甚至在国内市场,其市场份额还有环比下滑的趋势。但从追觅自身的发展来看,其着眼点并不在单一品类的横向竞争上。

直观的表现是,追觅并没有将激进扩张的时间点选在扫地机占据绝对市场份额的时候,而是选在其“技术复利”的核心优势跑通之时。从“超级碗”到央视春晚,追觅的植入重点都是尽可能全地露出多种产品,以展示其“技术复利”的落地成果,其目的也是在扫地机之外,建立追觅“万物皆可造”的市场认知。
19天14个涨停板
2026年计划“批量IPO”
在这个过程中,追觅将一系列重磅营销动作都放在春晚前后,可见春晚才是这套“组合拳”的重中之重,而其之所以押宝春晚,大概率是受到宇树科技的启发。
犹记得2025年春晚现场,宇树科技一批身着东北大花袄的人形机器人,贡献了一个让人印象深刻的舞台。当时,市场对人形机器人的认知还停留在“走几步就摔”、“添乱的低能儿”等层面,而这个舞台改变了市场认知,也为宇树科技带来了声量、订单、市场份额、估值等全方位的提升。更值得关注的是,春晚过后,宇树科技在2025年拿到两轮融资,投资方包括中国移动、腾讯、蚂蚁集团、阿里巴巴等重磅玩家。
如今,追觅如此大费周章,也不完全是为了把“故事”讲给C端市场听,而是一方面借此提升声量,尝试改善当前以海外市场为主(80%)的营收结构。另一方面则借此撬动资本,以支撑其未来的发展愿景。
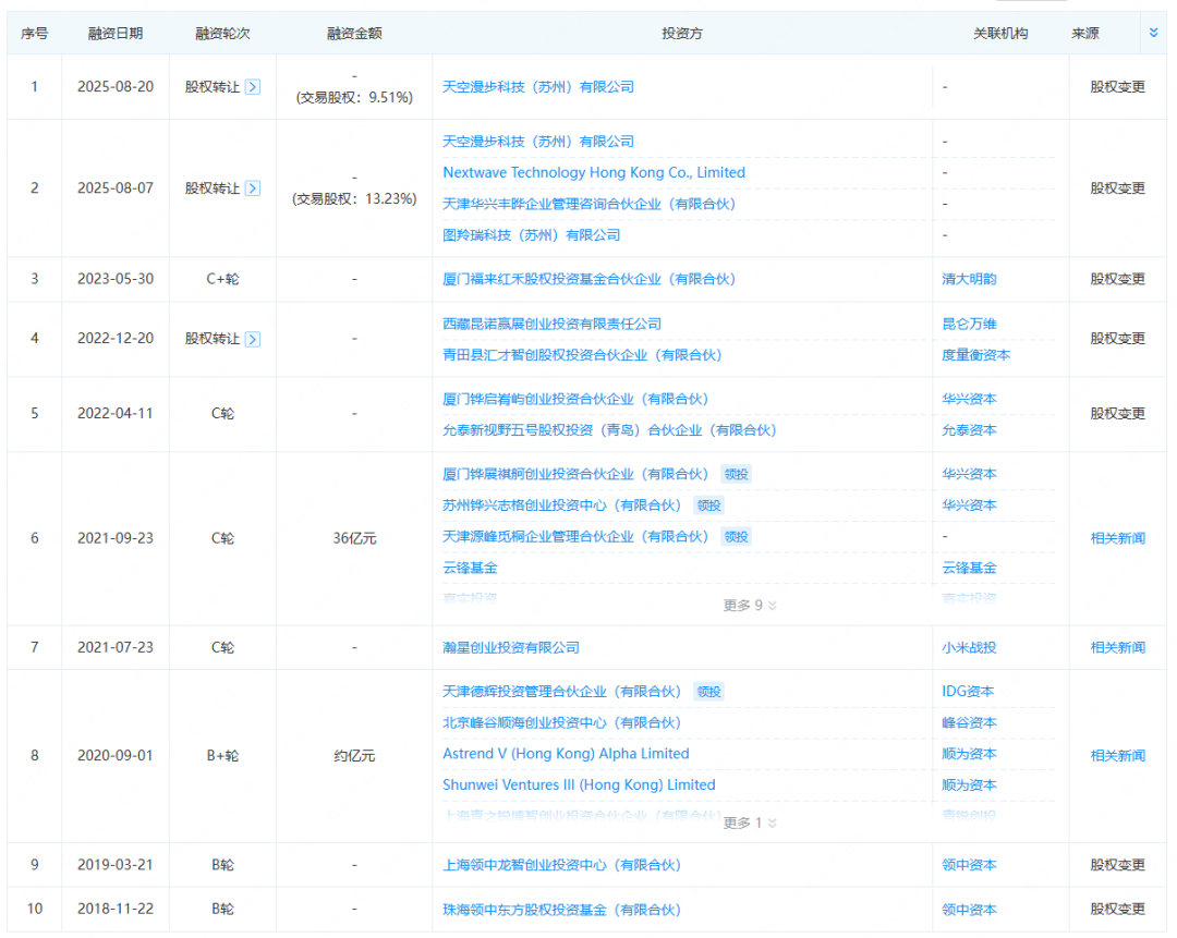
毕竟追觅提出的愿景需要很多很多钱,而根据企查查数据,追觅自创立至今,共拿到11轮融资(含3次股权转让)。其中,2025年8月的两次股权转让,其主要交易对象为天空漫步科技,后者归属于天空翱翔科技这一企业族群,而翱翔科技的实控人同样为俞浩。由此来看,追觅科技最近一次外部融资,已是2023年的事,而在公开融资金额的轮次中,金额最大的C轮融资发生在2021年,当时的融资额为36亿元。


也就是说,追觅科技近几年的融资动作并不算频繁,其以清洁产品为主的机器人研发,已经很难再驱动资本入场,而多线并进的整体走向,汽车、智能手机、无人机等新业务的发展前景将有望成为追觅撬动资本的新故事。
当然,在驱动更多资本这件事上,追觅科技也没有完全寄希望于融资,而是进一步看向二级市场。
2025年12月,A股上市公司嘉美包装发布公告称,俞浩通过旗下持股平台逐越鸿智,以22.82亿元的对价收购公司54.9%的股权,成为其实际控制人。受此带动,嘉美包装的股价应声涨停,并在之后的19个交易日里跑出14个涨停板,累计涨幅一度超过632%。
二级市场的表现,一来反映出对追觅的乐观预期,二者,此次收购被很多人视为追觅将借壳上市的动作。但在嘉美包装的公告中,俞浩承诺取得上市公司控制权后36个月内不会对上市公司进行资产注入,这几乎阻断了追觅短期内借壳上市的可能。但从长期看,未来并不排除追觅将旗下业务分拆注入嘉美包装的可能性,且分拆上市也是追觅下一步的计划。
此前,俞浩曾在朋友圈发文称:从2026年年底开始,追觅生态旗下多个业务板块将在全球主要交易所“下饺子”式密集启动IPO。目前,在追觅与春晚的合作中,负责人形机器人部分的魔法原子已经明确将独立IPO,其联合创始人顾诗韬前不久透露:公司最快可能于2026年在二级市场有新消息,公司正按照最快速度排上市时间表。
从“狂人”到“大梦想家”
追觅的野心不止三年万亿
纵观追觅近一年的发展动向,从大踏步跨界的产品开发策略,到俞浩一次次语出惊人,追觅的这一系列动作常常让人瞠目。甚至围绕其未来三年达成万亿营收目标,“20年打造百万亿美元级别的公司生态”等发展预期,不少人经过相关测算,认为这几乎是不可能完成的事。
但俞浩似乎对此毫不怀疑。
一方面,追觅发展至今确实做出了一些成绩,如自创立至今,追觅已经连续6年,把营收的年复合增长率做到100%以上。另一方面,除了“技术复利”的核心优势外,小米生态链的发展背景,也让追觅在新业务线上,能够更快找到打开市场的方法。以及公司扁平的组织架构,使得追觅在同一产品开发上,往往能够跑出更快的落地速度。
除此之外,俞浩本身也是一块颇有份量的招牌,他一路走来,几乎拿的都是天之骄子的“剧本”。

且不说一路保送至清华研究生的含金量,仅在大学期间,俞浩参与某比赛时尝试的飞机设计,曾被其导师质疑违背制造原理,但他还是坚持完成,并在比赛中拿下一等奖。工作后之所以先触及清洁产品市场,一个重要原因在于,俞浩带领团队攻克的高速数字马达技术,是清洁产品的“心脏”,而在此之前,该技术长期被海外市场垄断。
基于这样一套成长履历,俞浩在此前的一次访问中,用“我本狂人”形容自己,而他对自己过往的评价是:“人生无一败绩”。当时,俞浩刚在扫地机市场崭露头角,便提出:当前所在的是百亿级赛道,这场仗打完了,会选一个万亿级竞争对手。
如今,俞浩和追觅已然开始挑选新的对手。只是构建如此大的愿景、大范围铺开各个业务线、如此密集的营销、讲这样极具想象力的故事,很容易让人联想到乐视的那位“故人”,和他那个失败的“生态化反”的故事。
俞浩对此也曾有过回应,他认为:“追觅不是乐视。乐视没有解决全球化的问题,也没有实现盈利,但追觅海外收入已经占到80%;乐视没有解决高端化的问题,追觅各个赛道都是高端的,主业做到了行业利润第一;乐视没有解决研发创新的问题,追觅每年大量研发投入,进行了有效创新,支撑了全球的高端化。”
但就目前来看,俞浩的这番言论并没有太大的说服力,因为追觅关于未来的宏大构想都还没有真正落于实绩,提出这些愿景的俞浩,在更多人心里是一个“大梦想家”。而在继续“讲故事”的过程中,如何将这些愿景转变实实在在的业绩,已经是追觅接下来必须回答的问题。
镜象娱乐(ID:jingxiangyuler)
━━ 已入驻平台 ━━

━━ 视频号 已入驻平台 ━━

合作、投稿、应聘可添加微信:
ID1:love-travis
ID2:CourserLee